Raltron晶振,陶瓷諧振器,POE-A晶振,POE-B晶振
頻率:190KHZ~767KHZ
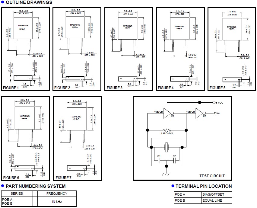
尺寸:13.5x3.8mm
Raltron拉隆晶振公司成立于1983年,是全球較受歡迎的石英晶振,貼片晶振,壓電石英晶體等頻率產品制造商之一.從簡單的音叉晶體到高穩定性的可編程晶體振蕩器,Raltron提供了行業中最全面的頻率管理設備.多年來,公司致力于石英晶振,貼片晶振,石英晶體振蕩器,有源晶振的研究和開發,使得石英晶體,石英晶體振蕩器的技術不斷創新.如今Raltron晶振公司提供高性能的頻率控制解決方案,在價格、質量、應用程序工程和客戶支持方面滿足和超越客戶期望.
為了滿足快速增長的無線應用市場的需求,Raltron晶振將自己打造成為一個完整的解決方案供應商,在它的石英晶體,石英水晶和晶體振蕩器,貼片振蕩器中添加了鋸片和LTCC過濾器.該公司還為同一市場開發了一整套天線產品.
Raltron晶振,陶瓷諧振器,POE-A晶振,POE-B晶振,kHz片狀型 -一般電子產品用標準頻率公差型-利用獨創的封裝技術,實現了千赫頻率“陶瓷晶體”。該系列非常適合用于微型遙控裝置和AV模塊中。可采用回流焊接,可使用自動貼裝機安裝。
1. KHZ陶振系列可采用回流焊接。2. 該系列可使用自動貼裝機安裝。3. 無需調整即可用于振蕩電路。4.家電遙控器,DVD、電視播放器等家用電器產品
Raltron石英晶振集團加強環境意識教育,提高全員環境意識,充分調動職工的積極性,積極使用壓電石英晶體元器件、壓電石英晶體、有源晶體、(PXO)普通晶體振蕩器,(TCXO)溫補石英晶體振蕩器,(OCXO)恒溫晶體振蕩器等環保型原材料,減少生產過程中的廢棄物產生量,努力向相關方施加環境影響.
我們的活動、產品和服務首先要遵守和符合有關環境的法律和其他環境要求.努力探索生產中所使用的有毒有害物質的替代,本著污染預防的思想,使我們的晶體振蕩器,有源晶振, ,(PXO)普通晶體振蕩器,(TCXO)溫補晶體振蕩器更趨于綠色,提高本公司的社會形象.
在使用Raltron石英晶振時應注意以下事項:
1:抗沖擊
抗沖擊是指晶振產品可能會在某些條件下受到損壞.例如從桌上跌落,摔打,高空拋壓或在貼裝過程中受到沖擊.如果產品已受過沖擊請勿使用.因為無論何種石英晶振,其內部晶片都是石英晶振制作而成的,高空跌落摔打都會給晶振照成不良影響.
2:輻射
將貼片晶振暴露于輻射環境會導致產品性能受到損害,因此應避免陽光長時間的照射.
3:化學制劑 / pH值環境
請勿在PH值范圍可能導致腐蝕或溶解石英晶振或包裝材料的環境下使用或儲藏這些產品.
4:粘合劑
請勿使用可能導致石英晶振所用的封裝材料,終端,組件,玻璃材料以及氣相沉積材料等受到腐蝕的膠粘劑.(比如,氯基膠粘劑可能腐蝕一個晶振的金屬“蓋”,從而破壞密封質量,降低性能.)
5:鹵化合物
請勿在鹵素氣體環境下使用晶振.即使少量的鹵素氣體,比如在空氣中的氯氣內或封裝所用金屬部件內,都可能產生腐蝕.同時,請勿使用任何會釋放出鹵素氣體的樹脂.Raltron晶振,陶瓷諧振器,POE-A晶振,POE-B晶振
6:靜電
過高的靜電可能會損壞貼片晶振,請注意抗靜電條件.請為容器和封裝材料選擇導電材料.在處理的時候,請使用電焊槍和無高電壓泄漏的測量電路,并進行接地操作.
深圳市億金電子有限公司 SHENZHEN YIJIN ELECTRONICS CO;LTD
聯系人黃娜:18924600166
工作QQ:857950243
貿易通:yijindz2014
座機:0755-27876565
郵箱:yijindz@163.com
微信:yijindz,公眾號:NDKcrystal
地址:廣東省深圳市寶安區107國道旁甲岸路
跟此產品相關的產品 / Related Products

- NX5032GA-8.000M-STD-CSU-1,NDK無源晶振,耐高溫晶振
- NX5032GA-8.000M-STD-CSU-1,NDK無源晶振,耐高溫晶振,憑借耐高溫,低功耗設備晶振,高可靠性的特性,該晶振廣泛應用于汽車電子,工業控制,物聯網設備及消費電子等領域.在需要無源時鐘信號且環境溫度較高的場景中,可替代普通耐溫晶振,避免因高溫導致的設備時鐘故障,提升產品整體可靠性.

- KX-327L晶振,12.87131,GEYER晶振,32.768KHz,12.5pF,±20ppm,7015諧振器
KX-327L晶振,12.87131,GEYER晶振,32.768KHz,12.5pF,±20ppm,7015諧振器
進口GEYER晶振中編碼為12.87131的KX-327L晶振,其頻率為32.768KHz,頻率公差是±20ppm,負載電容為12.5pF,是進口無源晶振,其尺寸為7.0×1.5×1.4mm,一般也稱呼為7015諧振器、32.768K時鐘晶振。幾十年來,GEYER Electronic一直是頻率產品、石英晶體、振蕩器和陶瓷諧振器的領先制造商之一,成立于 1964 年,總部設在德國以及歐洲、亞洲和美國的其他地方,為全球客戶提供服務。

- CPFBZ-A2C4-32.768KD12.5,32.768kHz,Cardinal小體積晶振,電腦晶振
- CPFBZ-A2C4-32.768KD12.5,32.768kHz,Cardinal小體積晶振,電腦晶振,美國進口晶振,Cardinal卡迪納爾晶振,型號:CPFB,編碼為:CPFBZ-A2C4-32.768KD12.5,頻率為:32.768KHz時鐘晶振,工作溫度范圍:-40℃至+85℃,負載:12.5pF,小體積晶振尺寸:8.7x3.7x2.4mm陶瓷SMD封裝,四腳貼片晶振,無源晶振,石英晶振,SMD晶振,音叉晶體,石英晶體諧振器。具有超小型,輕薄型,高性能,高品質,高質量,耐熱及耐環境等特點。被廣泛應用于:通訊設備晶振,RTC應用,時鐘晶振,電腦晶振,儀器儀表設備,數字顯示等應用。
晶振系列
日本進口晶振
- 京瓷晶振
- 精工晶振
- 西鐵城晶振
- 村田晶振
- 大河晶振
- KDS Quartz crystal
- NDK Quartz crystal
- EPSON Quartz crystal
- 富士晶振
- NAKA晶振
- SMI晶振
- NJR晶振
臺產晶振
歐美晶振
- CTS晶振
- 微晶晶振
- 瑞康晶振
- 康納溫菲爾德晶振
- 高利奇晶振
- Jauch晶振
- AbraconCrystal晶振
- 維管晶振
- ECScrystal晶振
- 日蝕晶振
- 拉隆晶振
- 格林雷晶振
- SiTimeCrystal晶振
- IDTcrystal晶振
- PletronicsCrystal晶振
- StatekCrystal晶振
- AEK晶振
- AEL晶振
- Cardinal晶振
- Crystek晶振
- Euroquartz晶振
- 福克斯晶振
- Frequency晶振
- GEYER晶振
- ILSI晶振
- KVG晶振
- MMDCOMP晶振
- MtronPTI晶振
- QANTEK晶振
- QuartzCom晶振
- QuartzChnik晶振
- SUNTSU晶振
- Transko晶振
- WI2WI晶振
- 韓國三呢晶振
- ITTI晶振
- ACT晶振
- Milliren晶振
- Lihom晶振
- rubyquartz晶振
- Oscilent晶振
- SHINSUNG晶振
- PDI晶振
- C-TECH晶振
- IQD晶振
- Microchip晶振
- Silicon晶振
- Fortiming晶振
- CORE晶振
- NIPPON晶振
- NIC晶振
- QVS晶振
- Bomar晶振
- Bliley晶振
- GED晶振
- FILTRONETICS晶振
- STD晶振
- Q-Tech晶振
- Anderson晶振
- Wenzel晶振
- NEL晶振
- EM晶振
- PETERMANN晶振
- FCD-Tech晶振
- HEC晶振
- FMI晶振
- Macrobizes晶振
- AXTAL晶振
- 瑞薩renesas晶振
- Skyworks晶振
有源晶振
霧化片
貼片晶振
32.768K
- 32.768K有源晶振
- 8.0x3.8晶振
- 7.1x3.3晶振
- 7.0x1.5晶振
- 5.0x1.8晶振
- 4.1x1.5晶振
- 3.2x1.5晶振
- 2.0x1.2晶振
- 1.6x1.0晶振
- 1.2x1.0晶振
- 圓柱晶振
聲表面濾波器
石英晶振
KDS晶振
愛普生晶振
- EPSON 32.768K晶振
- EPSON無源晶振
- EPSON普通有源晶振
- EPSON壓控晶振
- EPSON溫補晶振
- EPSON壓控溫補晶振
- EPSON恒溫晶振
- EPSON差分晶振
- EPSON可編程晶振

全球咨詢熱線
手機端




網址:

億金公眾號
億金微信號


